欢迎光临山东凯标电气科技有限公司!
电话:0531-87936887
技术热线:13345116373
首页
走进凯标
新闻中心
产品系列
维修服务
解决方案
联系我们
人才招聘
线号机
硕方大口径热缩管打印机TP2000
兄弟线号机
丽标线号机
硕方线号机
赛恩瑞德线号机
凯标线号机
MAX线号机
标映线号机
二次加工设备
半自动压端头机 BL-170M
导线切剥(折弯)机
全自动套线号管压端头机
导线剥压一体机
下线穿线号管机BL-204C
电气软管及配件
标识管
热缩管
电缆固定头 配线槽
套管 波纹管 缠绕管
标签机
兄弟标签机
普贴标签机
标牌机
MAX彩贴标签机
端头
冷压端头
端子
SDJ大电流接线端子
STS2-多用途分线端子
SUK框式螺钉压接端子
SEK框式螺钉压接端子
SN板式螺钉压接端子
JF5板式螺钉压接端子
ST3笼式弹簧接线端子
JM1、JY1系列接线端架
SPK、SJK光电耦合端子
接线端子配件
线号机耗材
丽标系列耗材
兄弟系列耗材
硕方系列耗材
MAX系列耗材
凯标系列耗材
赛恩瑞德系列耗材
标映/锦宫/爱普生系列耗材
通用系列耗材
当前位置:
首页
-
端头
-
冷压端头
-
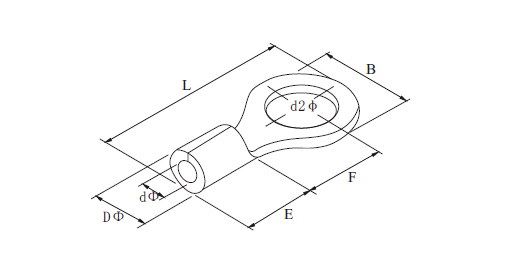
圆形裸端头(TO型)
圆形裸端头(TO型)
上一张
下一张
产品简介
圆形裸端头(TO型)
产品介绍
技术参数